资产数量多、位置分散、管理难度大,没人能准确掌握资产状况。有多少、在哪里、谁用着?正常还是已损坏?重要资产人为带离是否有监控、报警?
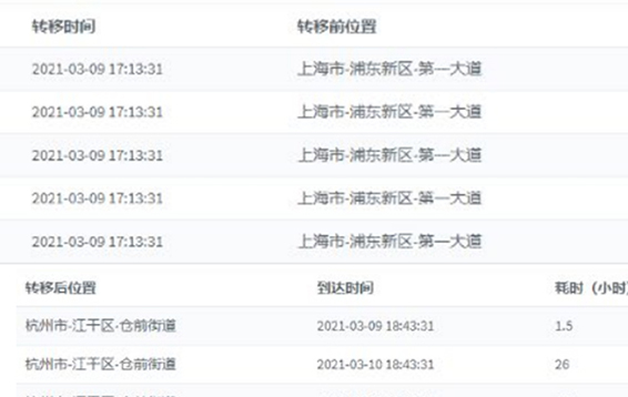
固定资产账实不符。频繁移动的资产,手工记录其移动位置太耗时耗力,导致财务账面资产和实际管理的实物资产不能对应。
传统方式管理固定资产(如用Excel)不仅繁琐,而且容易出错。资产实时状态无法查询,在用资产的移动轨迹也未能记录